• Fast delivery
  • Free shipping from €75,-
  • More than 5000 parts in stock
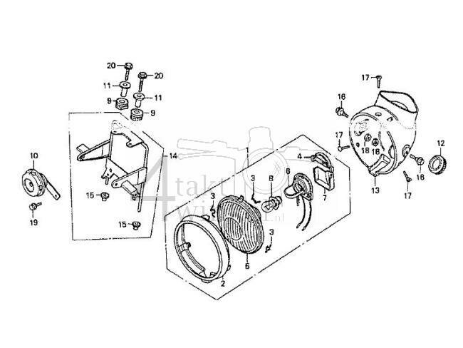
F1 - Headlight
Collapse Expand