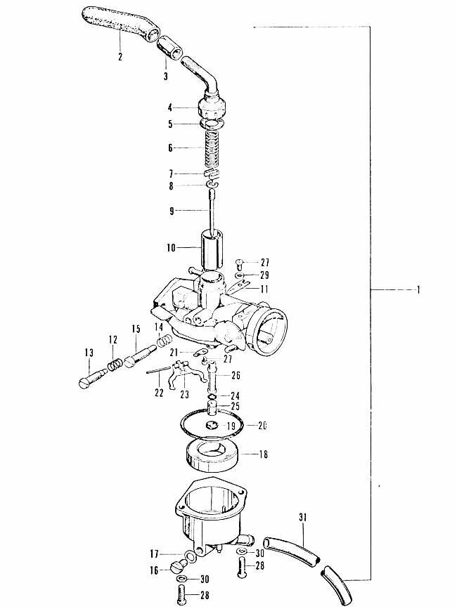
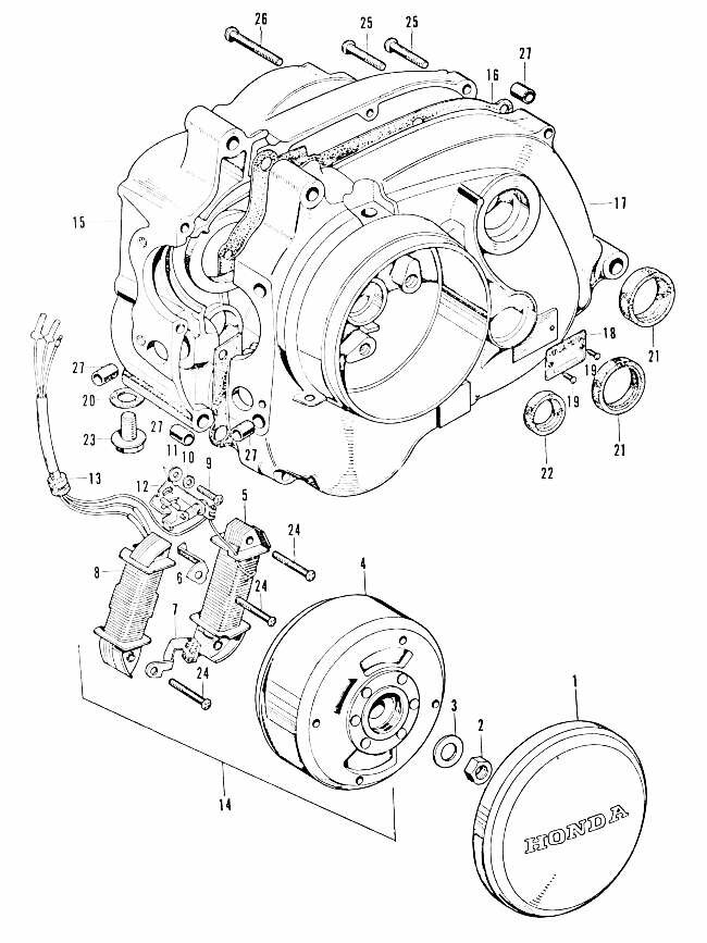
Search easily for Honda PC50 K1 (Dutch type) parts by partslist:
The PC50 K1 version can be recognized by the telescopic fork and an engine block with underlying camshaft. Click on the drawing for the list of corresponding parts.
Ask below your non-committal quotation. We will contact you as soon as possible.
Enter your desired name below.
Give your new wishlist a name below.